Open Top Series

Offers open top socket for a wide range of packages. BGA, LGA, QFN,WLCSP,SiP etc;
It can be used for test, programming, burn-in application.

Features

  • High durability
  • Pitch ≥ 0.35mm
  • Fast delivery

 

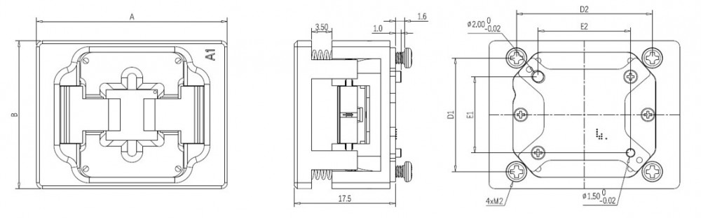
Mechanical

 

  A B D1 D2 E1 E2
OT100L 33 26 20 23.5 13.4 16